Горячая вода в кране и стабильные +23°C дома, когда на улице лютый мороз, - разве эти блага цивилизации не являются уже привычными? Теперь ответьте на простой вопрос: был ли промыт теплообменник вашего газового котла после предыдущего отопительного сезона? Если ответ "нет", вы рискуете остаться без отопления в зимний период.
Чтобы избежать этого, прочитайте нашу статью о борьбе с накипью и предотвращении минеральных отложений. Мы подробно рассказываем о проверенных методах предотвращения образования накипи, которая может снизить эффективность работы вашего прибора и увеличить расход топлива. Наши советы и рекомендации предназначены для повышения тепловой эффективности и срока службы вашего котла.
Ни одна жидкость не имеет такой же удельной теплоемкости, как вода. В зависимости от температуры и давления он колеблется от 4174 до 4220 джоулей/(кг-рад). Вода нетоксична, доступна и дешева, что делает ее почти идеальным теплоносителем.
Однако у H2O есть серьезный недостаток - в своем естественном состоянии она содержит соли щелочноземельных металлов Ca и Mg. При нагревании они образуют нерастворимые карбонатные отложения на внутренних поверхностях теплообменного оборудования.

Жесткая вода характерна для значительной части России, особенно для центральной зоны, где степень минерализации достигает максимума.
Негативными последствиями образования накипи являются
Бытовые отопительные котлы и водонагреватели в основном оснащены поверхностными теплообменниками, в которых тепло передается через поверхности металлических стенок. Однако известняк имеет высокое термическое сопротивление, т.е. низкую теплопроводность.
По этой причине коэффициент теплопередачи в загрязненных теплообменниках снижается, что приводит к снижению температуры теплоносителя в отопительном контуре и недостаточному нагреву воды на выходе ГВС.

Если бойлер не нагревает воду должным образом, проверьте состояние теплообменника - в нем может быть накипь, которая вызывает снижение производительности.
Отложения накипи размером всего 0,2 мм увеличивают расход топлива на 3 %. Если толщина накипи составляет 1 мм, расход газа увеличивается до 7%.
Если теплопередача снижается, то для поддержания заданной температуры воды необходимо использовать больше газа, что означает снижение эффективности. В то же время, при увеличении потребления топлива увеличивается объем дымовых газов, что приводит к увеличению выбросов, загрязняющих воздух вокруг дома и атмосферу в целом.
Отложения полностью или частично блокируют проходной участок трубы, что приводит к увеличению гидравлического сопротивления в системе, нарушению циркуляции хладагента, снижению подачи горячей воды на водоразборных точках.

При использовании воды нормальной жесткости в течение года образуется слой накипи 2-3 мм. При более высокой солености скорость осаждения карбонатов увеличивается
Неправильная теплопередача приводит к перегреву труб, что в свою очередь приводит к появлению микротрещин - прогнозируемых очагов коррозии. Из-за экстремальных условий эксплуатации устройство преждевременно выйдет из строя.
Во избежание повреждения устройства необходимо периодически удалять накипь. Плановая очистка теплообменников настенных и напольных газовых котлов проводится в соответствии с инструкциями производителя. Эта простая процедура помогает поддерживать энергоэффективность оборудования на первоначальном уровне, продлевает межремонтный период и снижает общую стоимость эксплуатации.
В результате неполного сгорания газа на внешних поверхностях теплообменника откладывается сажа - аморфный аллотроп углерода. Теплообменники в котлах с открытой камерой сгорания и естественной тягой наиболее подвержены воздействию сажи.
Одной из причин его повышенного образования является запыленность воздуха в помещении, из которого поступает воздух для горения. Во время строительных работ образуется много пыли. Если строительная площадка находится рядом с входом коаксиального дымохода, теплообменник котла с закрытой камерой сгорания также может быть загрязнен.

Коаксиальный дымоход состоит из внутренней и внешней трубы. Один используется для удаления дымовых газов, другой - для подачи воздуха в закрытую камеру сгорания
Недостаточный диаметр, неправильная конфигурация дымохода или засорение могут уменьшить тягу. Если тяга дымохода слишком слабая, дымовые газы не могут быть удалены должным образом и оседают в виде сажи на нижней стороне теплообменника.
Как и накипь, сажа обладает низкой теплопроводностью и снижает эффективность теплообменного оборудования, приводит к ускоренному износу и сокращает межремонтный период. Эффективность теплообменника, загрязненного сажей и накипью, может быть снижена на 25% и более.
Частота очистки указывается производителем оборудования в инструкции по эксплуатации. Например, теплообменники в котлах Neva должны очищаться от накипи каждые 12 месяцев.
Концентрация солей щелочноземельных металлов в воде может меняться. Если концентрация высока, вода называется жесткой. В этом случае накипь образуется быстрее, поэтому может потребоваться внеплановая очистка. Скорость образования накипи также зависит от режима отопления и интенсивности работы котла.
О наличии накипи в трубках теплообменника и сажи на ребрах свидетельствует снижение тепловой мощности агрегата. Температура и состав дымовых газов измеряются газоанализатором для определения соответствия тепловой мощности заявленной.
При отсутствии счетчика о наличии накипи можно судить по косвенным признакам: падению температуры и высоте подъема воды на выходе из котла. Если давление воды в водонагревателе нормальное и из крана течет тонкая струйка, проверьте наличие отложений на внутренних поверхностях трубок теплообменника.
Недостаточный нагрев воды при стандартном расходе газа и нормальном напоре также указывает на засорение теплообменника.
Следует отметить, что существуют различные причины отказов сложного оборудования, и накипь является лишь одной из возможностей.
Для удаления накипи и сажи используются механические, гидравлические, химические и другие методы или их комбинации.
Механическая очистка теплообменника производится с помощью гвоздодера, проволочной щетки или скребка. Используются как ручные инструменты, так и инструменты с электрическим или пневматическим управлением.
Гидравлический метод можно использовать только с мойкой высокого давления, которая обеспечит сильный поток жидкости, чтобы рассеять отложения и вывести их наружу.
Химический метод предполагает использование специальных средств, которые разрыхляют и растворяют загрязнения.

При промывке теплообменников химическим методом можно использовать насосное оборудование для подачи химикатов в водяной контур, это более эффективно, чем простое замачивание.
Магнитные, электромагнитные и ультразвуковые методы являются относительно новыми и требуют применения фильтров-преобразователей и других технических средств.
Для очистки теплообменников в бытовых водонагревателях и бойлерах чаще всего используется сочетание механических и химических методов. После замачивания (травления) в моющем средстве остатки накипи очищаются механически. Современные методы, описанные выше, также становятся все более популярными.
Дескальеры содержат органические или неорганические кислоты. Наиболее часто используемые бытовые средства для удаления накипи - это адипиновая и ортофосфорная кислота. Водные растворы лимонной или уксусной кислоты можно приготовить в домашних условиях.
Кислоты являются реактивами - они могут реагировать с солями щелочноземельных металлов с образованием других водорастворимых солей, которые затем удаляются из теплообменного оборудования.
Щелочи, такие как кальцинированная сода или каустическая сода, также используются для удаления карбонатных отложений и сажи, облегчая последующую механическую и химическую очистку. Щелочные растворы также используются для нейтрализации следов кислоты, оставшихся в теплообменнике после удаления накипи.
Большинство химических веществ поставляются клиентам в виде высококонцентрированных водных растворов и требуют дополнительного разбавления водой в определенных пропорциях, как указано в инструкции по применению.
Необходимо следовать инструкциям производителя по приготовлению рабочего раствора и не превышать концентрацию продукта. В противном случае контакт материалов теплообменника с агрессивным веществом приведет к ускоренной коррозии.
При выборе изделия необходимо учитывать материал теплообменника. Обычно это медь, нержавеющая сталь или чугун. Например, Aminat D предназначен для теплообменников из нержавеющей и углеродистой стали. Другой реагент той же серии, Aminat D(K), используется для очистки медных поверхностей.

Многие бытовые отопительные котлы оснащены медными теплообменниками. При выборе средства для удаления накипи убедитесь, что оно одобрено для использования на цветных металлах.
Универсальные средства включают лимонную кислоту, уксус, Medesk-Plus, Trilon B. Они используются для очистки цветных металлов и теплообменников из нержавеющей стали.
Трилон Б - это диатомовая соль этилендиаминтетрауксусной кислоты. Он находится в виде белого кристаллического порошка. Когда Trilon B реагирует с солями щелочноземельных металлов (накипь), ионы кальция и магния замещаются ионами натрия. В результате образуются соли натрия, которые хорошо растворимы в воде.
Имеется обширный ассортимент средств для удаления накипи. Они содержат ингредиенты, которые одновременно очищают налет и предотвращают его образование.
KKF Composite отличается от других химических продуктов по принципу действия. Он не является растворителем, как кислоты, но в его присутствии карбонатные отложения (накипь) самоочищаются.
При нормальных условиях кристаллы карбоната кальция образуются в виде минерального ископаемого. Это и есть масштаб. В присутствии БКК вместо минеральных примесей образуется другая модификация карбоната кальция - арагонит.
Игольчатые кристаллы арагонита разрушают отложения кальция по мере своего роста. Арагонит, с другой стороны, плохо прилипает к поверхности теплообменника и поэтому легко удаляется промывкой обычной водой.
Активные вещества, содержащиеся в АФК, предотвращают образование кристаллов кальцита уже на начальной стадии. Таким образом, образование накипи значительно задерживается или полностью подавляется. Этот процесс называется ингибированием (в переводе с латинского - "торможение").

Арагонит - это полиморфная модификация карбоната кальция. Его кристаллы имеют игольчатую, заостренную форму, легко разрушаются накипью и смываются обычной водой.
PFC не только препятствует образованию накипи, но и предотвращает коррозию, образуя защитный слой на поверхности металла. Покупая средства для удаления накипи, не забудьте определить, есть ли у них сертификаты Роспотребнадзора.
Для того чтобы правильно промыть теплообменник, необходимо знать его конструкцию. Всю информацию о котле можно найти в руководстве по эксплуатации.
На всякий случай напоминаем, что для организации автономного отопления и горячего водоснабжения в квартирах и частных домах чаще всего используются газовые котлы и водонагреватели с теплообменниками следующих типов:
В широко используемых кожухотрубных теплообменниках вода циркулирует в трубе, которая огибает боковые стенки кожуха. Этот узел паяный или сварной, т.е. неразрушимый.

Кожухотрубный теплообменник является одним из самых эффективных и простых по своей конструкции; его легко очистить от накипи вручную.
Пластинчатые теплообменники менее популярны. Их основная конструктивная часть представляет собой металлический пакет, в котором собраны несколько пластин.
Например, теплообменники итальянских котлов Westen Zilmet и Baxi содержат от 10 до 16 пластин. Они отдают свое тепло воде, движущейся между ними по каналам. Перед очисткой такое оборудование должно быть демонтировано.

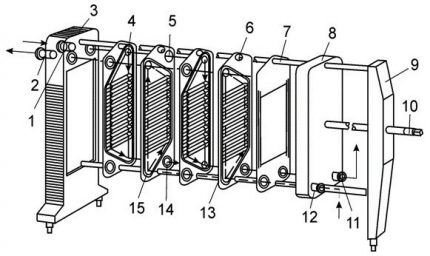
Схема пластинчатого теплообменника: соединения хладагента и нагреваемой среды (1, 2, 11, 12); неподвижная и подвижная пластины (3, 8); каналы, по которым течет хладагент (4, 14); малая и большая прокладки (5, 13); теплообменная пластина (6), верхняя и нижняя направляющие (7, 15); задняя опора и шпильки (9, 10)
Основным компонентом коаксиального (битермического) теплообменника являются две коаксиальные трубки. В своей простейшей конструкции он представляет собой спираль с плотно прилегающими витками.
Двухконтурные котлы характеризуются наличием 2-3 теплообменников. Например, котел "NEVALUX-8023" оснащен тремя теплообменниками, один из которых коаксиальный, но не спирального типа, а с рядом соединенных ячеек.
Выключите котел, перекройте подачу газа и воды, опорожните теплообменник и подождите, пока он остынет. Отсоедините трубки, открутите тяги и снимите нажимной диск, под которым находятся пластины.
Осторожно отделите их друг от друга. Извлекайте каждую пластину отдельно, чтобы избежать травм об острые края, надевайте плотные защитные перчатки. В случае контакта с кислотой надевайте резиновые перчатки.
Подготовьте емкость, в которой вы будете замачивать пластины, убедившись, что они полностью погружены в жидкость.
Используйте чистящее средство в соответствии с прилагаемой инструкцией. Разбавьте столовый уксус водой в соотношении 1 к 3. Разбавьте порошок лимонной кислоты в соотношении 1 к 10. Нагрейте воду с раствором до 40 °C. Пластины погружают в раствор на один час, после чего остатки осадка удаляют кисточкой под проточной водой.
После разборки и очистки установите пластины в горизонтальное положение, чтобы они лежали на столе или другой рабочей поверхности.

Для очистки теплообменника от накипи не обязательно покупать бустер, достаточно насоса, а остальное можно легко сделать своими руками.
При демонтаже теплообменника следует одновременно осмотреть прокладки и уплотнительные элементы и заменить их новыми, если они повреждены. Рекомендуется заменить все прокладки сразу, даже если изношена только одна. Соберите все компоненты в порядке, обратном снятию. Соберите теплообменник.
Выключите котел, закройте вентили на подающих трубах, чтобы сэкономить воду в системе отопления. Слейте воду из теплообменника. Отсоедините провода от термостата и отсоедините трубы с горячей водой. Открутите гайки и саморезы, крепящие теплообменник, и снимите его.

Если котел регулярно обслуживается и правильно эксплуатируется, сажа образуется в умеренном количестве и может быть удалена обычной зубной щеткой.
Чтобы очистить кожухотрубный теплообменник от толстого слоя карбонатных отложений, извлеките его из кожуха. Для его удаления не требуется специальных навыков.
Визуально осмотрите поверхности. Если на ребрах или в других местах имеется нагар, погрузите теплообменник в моющее средство, содержащее каустическую соду. Это может быть и раствор обычного хозяйственного мыла.
Если в инструкции не указано иное, замачивайте примерно на 15 минут. Затем удалите нагар с помощью щетки. Промойте теплообменник под проточной водой под хорошим давлением.
Поместите теплообменник в таз или другую емкость для удаления накипи. Залейте в трубу раствор лимонной кислоты (концентрация 10%). Через 12-15 часов промойте трубы чистой водой. Также промойте или замените фильтры для контура горячей воды.
Соберите теплообменник. После очистки также рекомендуется заменить все прокладки. Если уплотнения резиновые, смажьте их силиконом.
Затем проверьте герметичность теплообменника. На соединения газового контура наносится насыщенный мыльный раствор. Если есть утечки, на промытых участках образуются пузырьки воздуха.

После завершения промывки напольного котла проверьте его герметичность, электрические соединения и работу в различных режимах, восстановите настройки и запустите его.
При проверке водяного контура двухконтурного газового котла системы отопления и горячего водоснабжения включаются отдельно и проверяется каждое соединение. При обнаружении утечек подтяните гайку или установите новое уплотнение.
Трубки битермического теплообменника часто изготавливаются из различных металлов. Внешняя труба может быть стальной, а внутренняя - медной. Поэтому следует использовать универсальное промывочное средство, которое заливается в трубы, оставляется на необходимое время и сливается. Теплообменник промывается и возвращается на место.
Очистка от накипи и сажи производится без демонтажа теплообменника. Используется промывочный насос (бустер). Водный раствор лимонной кислоты наливают в емкость. Необходимое количество - 200 грамм порошкообразной лимонной кислоты на 2 литра теплой воды.
Перед чисткой напольного газового котла выключите газ и водопроводный кран и опорожните отопительный контур и контур горячей воды. Затем дойдите до теплообменника. Снимите дверцу, отсоедините провода, подключенные к пьезоэлементу, снимите термопару и сопло, демонтируйте систему зажигания и горелку.
Открутите гайки, крепящие верхнюю крышку, и снимите ее. Теперь у вас есть доступ к теплообменнику, и вы можете очистить его от сажи с помощью щетки и скребка.
Подсоедините выходы бустера к патрубкам теплообменника, который будет закачивать раствор лимонной кислоты в трубу под давлением. Циркулируя в течение 4-6 часов, он растворит накипь. Время промывки зависит от степени загрязнения.
Чтобы следить за этим процессом, используйте pH-метр. Этот измерительный прибор покажет изменение концентрации кислоты в растворе в результате продолжающейся химической реакции по растворению карбонатных отложений.
Если кислота нейтрализована, а измерительный прибор показывает pH, равный 1, возможно, необходимо повторить процесс. Стабильное значение pH от 2 до 4 указывает на то, что накипь удалена.
Наконец, трубы промываются раствором пищевой соды, чтобы нейтрализовать остатки реагента. Затем детали устанавливаются на место, и устройство проверяется на герметичность путем намыливания и визуального осмотра штекерных соединений или путем испытания давлением. Если нет утечек газа или воды, котел можно эксплуатировать обычным способом.
Теплообменник газового котла можно легко промыть в домашних условиях без использования профессионального оборудования:
Как промыть вторичный теплообменник в двухконтурном котле и что для этого необходимо:
Современные методы и меры помогают эффективно бороться и предотвращать образование накипи. Самое главное - не забывать периодически промывать теплообменник, чтобы фактическая производительность газового котла соответствовала номинальным показателям на протяжении всего срока службы котла.